| Sign In | Join Free | My esadidasol.com |
|
Brand Name : HongCe
Model Number : BP-1A
Certification : Testing Certificate
Place of Origin : China
MOQ : 1 set
Price : Negotiable
Payment Terms : T/T
Supply Ability : 50 set/ month
Delivery Time : 7 Days
Packaging Details : Aluminum Box
Load : 20N±0.2N
Steel ball : in accordance with ISO 3290-1
Material : 304 stainless steel
Test specimen support : Ф50X100 with Ф2.5 thermometer hole
304 Stainless Steel IEC Test Equipment Ball Pressure Tester 5mm Dia
Product details:
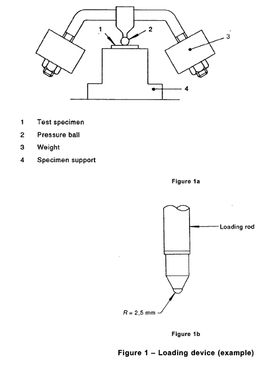
The Ball Pressure Tester is designed and manufactured according to IEC60695-10-2 Edition 3 2014-2 fig 1. It also conforms to many standard requirements such as IEC60884-1, IEC60335-1 and etc. It is parts of non-metallic materials for resistance to heat. It is applicable to electrotechnical equipment, its subassemblies and components, and to solid electrical insulating materials except ceramics.
The tester comes with interchangeable components to allow the user to select their testing preference to Figure 1a or Figure 1b of IEC 60695-10-2. In either configuration, the total force of the loading device is 20N ±0.2N. In the case of using the 5mm ball, the mass of the ball is included in the total force.
The Ball Pressure Tester kit will include a pair of insulated gloves (resistant up to 400°C) and a stand for the pressure device. A type K thermocouple (0~1000°C) can be inserted in the test specimen support. There also will include a 2mm check gauge that can be used to see if the specimen indentation passes or fails.
Test specimens:
If possible, cut a test specimen from the product in such a way that a piece at least 2.5 mm thick with approximately parallel upper and lower surfaces is obtained. If necessary, the thickness may be attained by stacking two or more sections. If it is not possible to cut a test specimen with parallel surfaces, care shall be taken to support the area of the test specimen directly under the pressure ball. The test specimen shall be a square with a minimum of 10 mm sides or a circle with a diameter of at least 10 mm.
If is impracticable to use a test specimen from the product then a plaque of identical material may be used as the test specimen. The plaque shall have a thickness of 3.0 mm±0.5 mm and shall be at least a square with 10 mm sides or a circle with a diameter of at least 10 mm.
Conditioning:
Unless otherwise required in the relevant specification, the test specimen is stored for at least 24 h in an atmosphere having a temperature between 15℃ and 35℃ and a relevant humidity between 45% and 75%.
Test procedure:
Conduct the test in air, in a heating oven (see 4.3) at a temperature specified in the relevant specification, within a tolerance of ± 2℃. The test apparatus shall be maintained at the test temperature for 24 h or until thermal equilibrium is reached, whichever occurs sooner.
When thermal equilibrium conditions are reached, place the test specimen on the test specimen support so that its upper surface is horizontal and gently lower the pressure ball on to the surface of the test specimen. Ensure that no conditions exist that will cause the pressure ball to move during the test.
The installation of the test specimen shall be performed in as short a time as practicable to ensure that there is no significant temperature drop of the test apparatus.
Technical parameters:
| Load | 20N±0.2N |
| Steel ball | Ball bearing steels ( in accordance with ISO 3290-1), Ф5mm±0.05mm / R2.5mm |
| Material | 304 stainless steel |
| Test specimen support | Ф50X100 with Ф2.5 thermometer hole |
| Standards | IEC60695-10-2 Edition 3 2014-2 fig 1, IEC60335, IEC60695 etc. |

|
|
304 Stainless Steel IEC Test Equipment Of Ball Pressure Test With Thermocouple Images |